electro-music.com   Dedicated to experimental electro-acoustic
and electronic music
 
    Front Page  |  Radio
 |  Media  |  Forum  |  Wiki  |  Links
Forum with support of Syndicator RSS
 FAQFAQ   CalendarCalendar   SearchSearch   MemberlistMemberlist   UsergroupsUsergroups   LinksLinks
 RegisterRegister   ProfileProfile   Log in to check your private messagesLog in to check your private messages   Log inLog in  Chat RoomChat Room 
 Forum index » Instruments and Equipment » General Discussion
EML-101 - KB S&H problem
Post new topic   Reply to topic
Page 1 of 1 [7 Posts]
View unread posts
View new posts in the last week
Mark the topic unread :: View previous topic :: View next topic
Author Message
dslocum



Joined: Jul 20, 2013
Posts: 19
Location: Toms River NJ

PostPosted: Sun Jun 05, 2022 5:41 am    Post subject: EML-101 - KB S&H problem Reply with quote  Mark this post and the followings unread

I'm restoring an EML-101. I have everything working great except the keyboard sample & hold. Maybe someone can help....

The S&H mostly works fine, except when you take your finger off a key (not gated) the voltage instantly goes down very slightly. I recall hearing this in the past, but don't recall an answer. Before I go replacing everything, has anyone seen this before or have any suggestions?
Back to top
View user's profile Send private message
Grumble



Joined: Nov 23, 2015
Posts: 1319
Location: Netherlands
Audio files: 30

PostPosted: Sun Jun 05, 2022 6:15 am    Post subject: Reply with quote  Mark this post and the followings unread

Posting the schematics or at least a link to that schematic will give you more and more adequate answers….
_________________
my synth
Back to top
View user's profile Send private message Visit poster's website
dslocum



Joined: Jul 20, 2013
Posts: 19
Location: Toms River NJ

PostPosted: Sun Jun 05, 2022 8:22 am    Post subject: Reply with quote  Mark this post and the followings unread

Grumble wrote:
Posting the schematics or at least a link to that schematic will give you more and more adequate answers….


Good point...

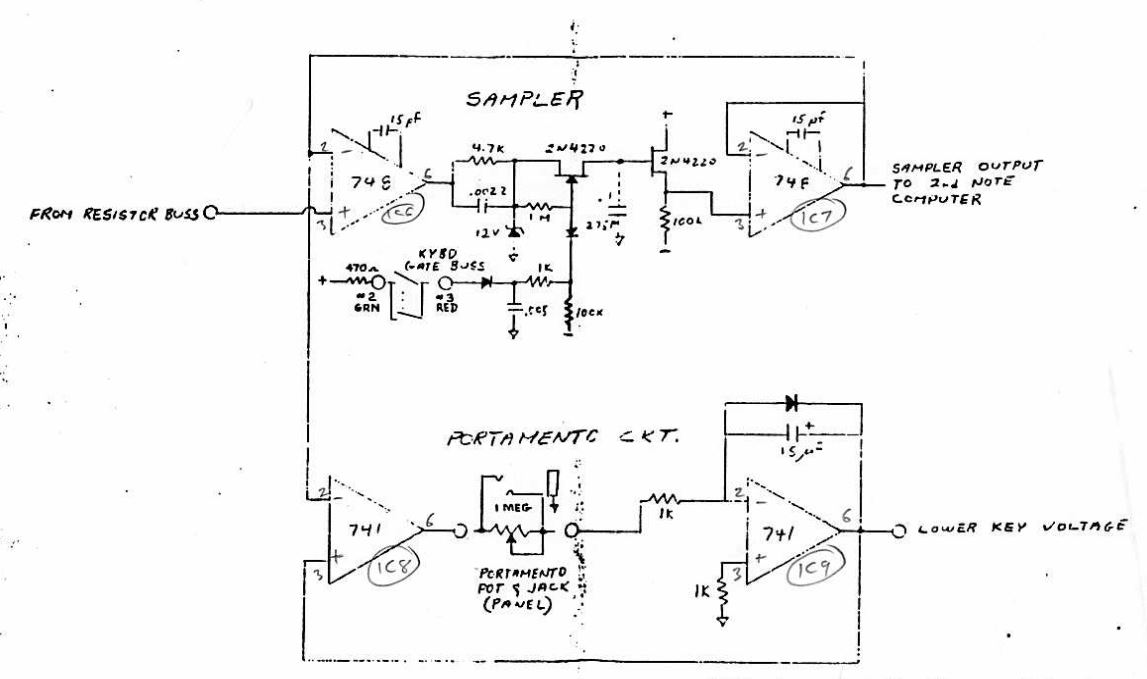
Note that this is a two buss keyboard - one voltage and one gate.


eml101_KB Sampler.jpg
 Description:
 Filesize:  65.27 KB
 Viewed:  183 Time(s)
This image has been reduced to fit the page. Click on it to enlarge.

eml101_KB Sampler.jpg


Back to top
View user's profile Send private message
blue hell
Site Admin


Joined: Apr 03, 2004
Posts: 24493
Location: The Netherlands, Enschede
Audio files: 298
G2 patch files: 320

PostPosted: Sun Jun 05, 2022 8:32 am    Post subject: Reply with quote  Mark this post and the followings unread

Ah .. it is old right? may be the S&H storage cap gone bad? (the dotted unreadable contraption)
_________________
Jan
also .. could someone please turn down the thermostat a bit.
Posted Image, might have been reduced in size. Click Image to view fullscreen.
Back to top
View user's profile Send private message Visit poster's website
dslocum



Joined: Jul 20, 2013
Posts: 19
Location: Toms River NJ

PostPosted: Sun Jun 05, 2022 8:38 am    Post subject: Reply with quote  Mark this post and the followings unread

Blue Hell wrote:
Ah .. it is old right? may be the S&H storage cap gone bad? (the dotted unreadable contraption)


That was my first thought after seeing a few articles on S&H capacitors. It's the easiest to try first of course.

I also suspect something funny in the gating circuit. I'm not sure what that diode / RC network on the JFET is doing exactly, but maybe that cap is holding a charge too long after the KB resistor string has been released? Dunno.

Also, it's not like a droop where the voltage dies off slowly. It's a sharp and fairly consistent little pitch shift of a couple annoying musical cents.
Back to top
View user's profile Send private message
blue hell
Site Admin


Joined: Apr 03, 2004
Posts: 24493
Location: The Netherlands, Enschede
Audio files: 298
G2 patch files: 320

PostPosted: Sun Jun 05, 2022 3:49 pm    Post subject: Reply with quote  Mark this post and the followings unread

Hmm yeah .. could also be that the gate signal does not go low fast enough .. maybe a scope could tell .. but then again .. switching out two caps would be a quick test too :)
_________________
Jan
also .. could someone please turn down the thermostat a bit.
Posted Image, might have been reduced in size. Click Image to view fullscreen.
Back to top
View user's profile Send private message Visit poster's website
Grumble



Joined: Nov 23, 2015
Posts: 1319
Location: Netherlands
Audio files: 30

PostPosted: Sun Jun 05, 2022 10:11 pm    Post subject: Reply with quote  Mark this post and the followings unread

When using a scope: NEVER try to read the voltage over the timing cap (the probe will drain this capacitor)
_________________
my synth
Back to top
View user's profile Send private message Visit poster's website
Display posts from previous:   
Post new topic   Reply to topic
Page 1 of 1 [7 Posts]
View unread posts
View new posts in the last week
Mark the topic unread :: View previous topic :: View next topic
 Forum index » Instruments and Equipment » General Discussion
Jump to:  

You cannot post new topics in this forum
You cannot reply to topics in this forum
You cannot edit your posts in this forum
You cannot delete your posts in this forum
You cannot vote in polls in this forum
You cannot attach files in this forum
You can download files in this forum


Forum with support of Syndicator RSS
Powered by phpBB © 2001, 2005 phpBB Group
Copyright © 2003 through 2009 by electro-music.com - Conditions Of Use